悦库企业网盘如何处理离职员工的文件
- 2024-03-01 16:18:00
- 高玉浩 原创
- 1600
如果员工离职了,可以选择删除该用户,或者设置为离职和冻结状态,删除用户和离职状态时可以交接文件,防止企业宝贵的文件数据丢失。
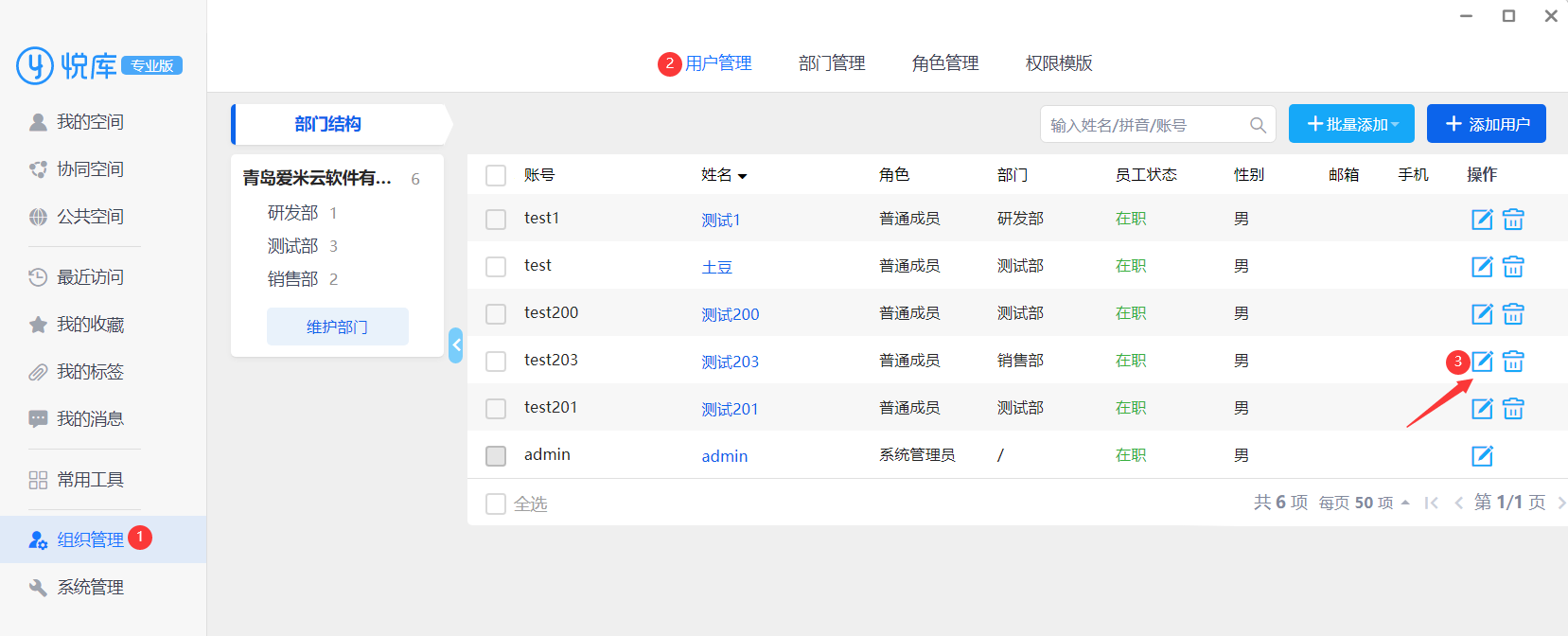
删除用户功能入口:【组织管理】-【用户管理】-【删除用户按钮】。如下图:
离职用户功能入口:【组织管理】-【用户管理】-【编辑用户按钮】-【选择离职状态】。如下图:
发表评论
联系我们
| 联系人: | 高先生 |
|---|---|
| 电话: | 19963860417 |
| Email: | service@ydisk.cn |
| QQ: | 480247680 |
| 微信: | 19963860417 |
| 地址: | 青岛市黄岛区井冈山路157号中南金石国际广场A座3202室 |
